
Sensor a prueba de explosiones
Modelo:FT-WFB5
Marca:fengtu
1、Sensor a prueba de explosiones Introducción del producto
Sensor a prueba de explosiones está diseñado para su uso en lugares peligrosos como refinerías, instalaciones de almacenamiento y plantas de procesamiento de gas para medir el clima ambiental y los factores ambientales.Shandong Fengtu Compañía de tecnología IoT, Ltd.Como empresa especializada en el desarrollo, la producción y la venta de sensores meteorológicos integrados a prueba de explosiones, nos comprometemos a promover la aplicación de instrumentos micrometeorológicos y soluciones ambientales meteorológicas.Con una cadena de producción completa, un sólido equipo técnico y un equipo de marketing integral, nuestros productos, como los instrumentos ultrasónicos de velocidad y dirección del viento a prueba de explosiones y los instrumentos micrometeorológicos a prueba de explosiones de cinco elementos, se han utilizado ampliamente en plantas químicas, depósitos petrolíferos, túneles, minas y otros sectores.Nuestros clientes se encuentran en todo el país y han obtenido beneficios sociales y económicos positivos.
En comparación con los instrumentos micrometeorológicos tradicionales, nuestros productos superan la necesidad de temporizadores de alta precisión, eliminando las imprecisiones de medición causadas por retrasos en el arranque del sensor, retrasos en el circuito de demodulación y fluctuaciones de temperatura.
Sensor a prueba de explosionesX integra de forma innovadora la velocidad y dirección del viento, la temperatura, la humedad y la presión atmosférica en una estructura altamente integrada, lo que permite la monitorización en línea continua de los parámetros meteorológicos exteriores las 24 horas.Los cinco parámetros se envían simultáneamente al usuario a través de una interfaz de comunicación digital.
2、Sensor a prueba de explosiones Características del producto
1.La sonda ultrasónica oculta en la cubierta superior evita las interferencias causadas por la acumulación de lluvia y nieve, así como las obstrucciones naturales del viento (Patente de Modelo de Utilidad, Patente Núm.ZL 2020 2 3215713.X)☆
2.Principio: Detecta la velocidad y dirección del viento mediante la emisión de una señal ultrasónica de frecuencia continuamente variable y la medición de su fase relativa (Patente de Invención, Patente Núm.ZL 2021 1 0237536.5)☆
3.Medición integrada de la velocidad y dirección del viento, la temperatura, la humedad y la presión atmosférica (Patente de Modelo de Utilidad, Patente Núm.ZL 2020 2 3215649.5)☆
4.Tecnología avanzada de sensores para la medición de la velocidad del viento en tiempo real, sin necesidad de arranque☆
5.Fuertes capacidades antiinterferencias, circuito de vigilancia y función de reinicio automático garantizan un funcionamiento estable del sistema.
6.Altamente integrado, sin piezas móviles, sin desgaste.
7.Sin mantenimiento, sin calibración in situ.Obligatorio
8.Fabricado con plástico de ingeniería ASA, ofrece una larga vida útil en exteriores sin decoloración.
9.El producto está diseñado con una interfaz de comunicación RS485 (protocolo MODBUS) como estándar para las señales de salida; las interfaces 232, USB y Ethernet son opcionales, lo que permite la lectura de datos en tiempo real☆
10.Módulo de transmisión inalámbrica opcional con un intervalo mínimo de transmisión de 1 minuto.
11.La sonda cuenta con un diseño a presión, lo que evita que se afloje y que la instalación sea incorrecta durante el transporte☆
3、Sensor a prueba de explosiones Parámetros técnicos
1.Velocidad del viento: Principio de medición: Ultrasónico, 0-60 m/s (±0,1 m/s), Resolución: 0,01 m/s (Patente de invención, n.º de patente ZL 2021 1 0237536.5)
2.Dirección del viento: Principio de medición: Ultrasónico, 0-360° (±2°), Resolución: 1° (Patente de invención, n.º de patente ZL 2021 1 0237536.5)
3.Temperatura del aire: Principio de medición: Método de voltaje de unión de diodos, -40-60 °C (±0,3 °C), Resolución: 0,01 °C (Certificado de calibración de la Oficina Meteorológica de Pekín)
4.Humedad del aire: Principio de medición: Capacitivo, 0-100 % HR (±3 % HR), Resolución: 0,1 % HR (Certificado de calibración de la Oficina Meteorológica de Pekín)
5.Presión atmosférica: Principio de medición: Piezoresistivo, 300-1100 hPa (±0,25 %), Resolución: 0,1 hPa (Certificado de calibración de la Oficina Meteorológica de Pekín)
6.El fabricante cuenta con las certificaciones ISO del Sistema de Gestión de Calidad, del Sistema de Gestión Ambiental y del Sistema de Gestión de Seguridad y Salud Laboral☆
7.El fabricante cuenta con el Certificado de Registro de Software Informático☆
8.El fabricante es una empresa con certificación AAA☆
9.El fabricante cuenta con la certificación de alto nivel de protección contra explosiones Ex ia IIC T4 Ga☆
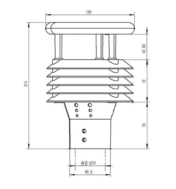
4、Sensor a prueba de explosiones Dimensiones del producto

5、Sensor a prueba de explosiones Diagrama de estructura del producto

1.Circuito de control
2.Flecha norte
3.Sonda ultrasónica
4.Persiana veneciana
5.Puntos de control de temperatura, humedad y presión atmosférica
6.Brida de montaje inferior
※Este producto está disponible con brújula electrónica, GPRS integrado o GPS (a elegir).
6、Sensor a prueba de explosiones Definición de cableado del producto

VCC: marrón, GND: negro, 485A: verde, 485B: azul
7、Sensor a prueba de explosiones Método de fijación de brida

1.Instrumento micrometeorológico
2.Tornillos de fijación
3.Cable de comunicación + conector de aviación
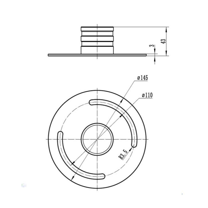
8、Sensor a prueba de explosiones Tamaño de la brida

tiempo:2026-04-05
Dirección del artículo:https://www.sqqx.net/es/Industrial-Weather-Station/Explosion-Proof-Sensor.html

+86 15898932201
Obtenga una cotización gratis



